Смесители Blanco в Санкт-Петербурге 

Цены на смесители Blanco в Санкт-Петербурге от 15.05.2026
Смесители Blanco (Бланко) от официального дилера с бесплатной доставкой и установкой. Фирменная гарантия производителя, скидки и акции, модели от 5000 руб., поможем выбрать и купить смеситель на выгодных условиях без переплаты. Новинки и хиты года, отзывы покупателей и мнения специалистов, а также фотографии, техническая документация и видео моделей.
Фильтр
Фильтр
Цена, руб.
до 40 000 40 000 - 90 000 более 90 000
Тип смесителя
Тип подводки
Покрытие
Показать все Свернуть
Возможность подключения фильтра
Рычаг для фильтрованной воды
Отдельный канал для фильтрованной воды
Цвет
Показать все Свернуть
Запорный клапан
Аэратор
Выдвижной излив
Высота излива, см
Размеры смесителей по высоте излива:
стандартные, высокие
Подробнее в статье «Размеры смесителей для кухни»
Длина излива, см
Размеры смесителей по длине излива:
стандартные, высокие
Подробнее в статье «Размеры смесителей для кухни»
Количество монтажных отверстий
Вид
Характеристики
  • Цвет: белый
  • Материал покрытия: гранит
Один рычаг управления
Один рычаг управления в смесителях Blanco поможет отрегулировать температуру и напор воды одной рукой, оставляя вторую свободной. Такая конструкция позволяет сэкономить время, сократить потребление воды и уменьшить опасность ожога кипятком.
Покрытие гранит

Смесители из гранита входят в большинство современных интерьеров. Материал неприхотлив в уборке, практичен и эргономичен. Гранит имеет очень прочную поверхность. При смене температурных режимов сохраняет свой внешний вид. Устойчив к механическим повреждениям.

Гибкая подводка

Гибкая подводка — это система шлангов, предназначенная для соединения смесителя с водопроводом. Различаются два типа гибкой подводки: сильфонная в виде гибкого шланга, помещенного в гофрированный рукав из нержавейки, и армированная — каучуковый или резиновый шланг с оплеткой из стали или алюминия.

Горизонтальный монтаж

Горизонтальный способ монтажа смесителей предполагает установку этого оборудования на горизонтальной поверхности — например, на бортике раковины или на столешнице. Это наиболее распространенный способ монтажа: подводка при этом оказывается скрытой под поверхностью столешницы или мойки.

Керамический картридж

Картридж расположен внутри смесителя и позволяет контролировать температуру и напор воды. Он состоит из двух керамических пластин, которые вращаются относительно друг друга и смешивают потоки горячей и холодной воды в зависимости от того, как повернут вентиль. Работает бесшумно и является достаточно долговечным.

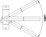
Поворотный излив

Поворотный излив означает, что вы сможете направить поток воды не только по центру, но и в сторону — и даже с раковины в ванну, если излив достаточно длинный. Угол поворота может быть разным, в зависимости от того получится сдвинуть кран на 180 или 360 градусов. С таким изливом проще мыть посуду и продукты, крупные предметы.

Хит продаж
5
В наличии
Простая конструкция смесителя Бланко позволяет изменять напор и температуру воды с помощью одного рычага: двигайте его вправо-влево или вверх-вниз для достижения нужного результата. Такая модель подойдет современному интерьеру, будет незаменима, если в вашем распоряжении небольшое пространство для сантехники. Устанавливается обычным способом: на бортик мойки или ванной в предназначенные для этого отверстия.
Характеристики
  • Цвет: антрацит
  • Материал покрытия: гранит
Один рычаг управления
Один рычаг управления в смесителях Blanco поможет отрегулировать температуру и напор воды одной рукой, оставляя вторую свободной. Такая конструкция позволяет сэкономить время, сократить потребление воды и уменьшить опасность ожога кипятком.
Покрытие гранит

Смесители из гранита входят в большинство современных интерьеров. Материал неприхотлив в уборке, практичен и эргономичен. Гранит имеет очень прочную поверхность. При смене температурных режимов сохраняет свой внешний вид. Устойчив к механическим повреждениям.

Гибкая подводка

Гибкая подводка — это система шлангов, предназначенная для соединения смесителя с водопроводом. Различаются два типа гибкой подводки: сильфонная в виде гибкого шланга, помещенного в гофрированный рукав из нержавейки, и армированная — каучуковый или резиновый шланг с оплеткой из стали или алюминия.

Горизонтальный монтаж

Горизонтальный способ монтажа смесителей предполагает установку этого оборудования на горизонтальной поверхности — например, на бортике раковины или на столешнице. Это наиболее распространенный способ монтажа: подводка при этом оказывается скрытой под поверхностью столешницы или мойки.

Керамический картридж

Картридж расположен внутри смесителя и позволяет контролировать температуру и напор воды. Он состоит из двух керамических пластин, которые вращаются относительно друг друга и смешивают потоки горячей и холодной воды в зависимости от того, как повернут вентиль. Работает бесшумно и является достаточно долговечным.

Поворотный излив

Поворотный излив означает, что вы сможете направить поток воды не только по центру, но и в сторону — и даже с раковины в ванну, если излив достаточно длинный. Угол поворота может быть разным, в зависимости от того получится сдвинуть кран на 180 или 360 градусов. С таким изливом проще мыть посуду и продукты, крупные предметы.

Хит продаж
5
В наличии
Простая конструкция смесителя Бланко позволяет изменять напор и температуру воды с помощью одного рычага: двигайте его вправо-влево или вверх-вниз для достижения нужного результата. Такая модель подойдет современному интерьеру, будет незаменима, если в вашем распоряжении небольшое пространство для сантехники. Устанавливается обычным способом: на бортик мойки или ванной в предназначенные для этого отверстия.
Характеристики
  • Цвет: хром
  • Материал покрытия: хром
Один рычаг управления
Один рычаг управления в смесителях Blanco поможет отрегулировать температуру и напор воды одной рукой, оставляя вторую свободной. Такая конструкция позволяет сэкономить время, сократить потребление воды и уменьшить опасность ожога кипятком.
Покрытие хром

Покрытие из хрома считается одним из лучших по соотношению цена-качество. На поверхности не образуются разводы, желтые пятна или накипь. Смеситель будет долгие годы сохранять свой первоначальный внешний вид. Материал обладает гипоаллергенными свойствами.

Гибкая подводка

Гибкая подводка — это система шлангов, предназначенная для соединения смесителя с водопроводом. Различаются два типа гибкой подводки: сильфонная в виде гибкого шланга, помещенного в гофрированный рукав из нержавейки, и армированная — каучуковый или резиновый шланг с оплеткой из стали или алюминия.

Горизонтальный монтаж

Горизонтальный способ монтажа смесителей предполагает установку этого оборудования на горизонтальной поверхности — например, на бортике раковины или на столешнице. Это наиболее распространенный способ монтажа: подводка при этом оказывается скрытой под поверхностью столешницы или мойки.

Керамический картридж

Картридж расположен внутри смесителя и позволяет контролировать температуру и напор воды. Он состоит из двух керамических пластин, которые вращаются относительно друг друга и смешивают потоки горячей и холодной воды в зависимости от того, как повернут вентиль. Работает бесшумно и является достаточно долговечным.

Поворотный излив

Поворотный излив означает, что вы сможете направить поток воды не только по центру, но и в сторону — и даже с раковины в ванну, если излив достаточно длинный. Угол поворота может быть разным, в зависимости от того получится сдвинуть кран на 180 или 360 градусов. С таким изливом проще мыть посуду и продукты, крупные предметы.

5 лет гарантии!
4
В наличии
Простая конструкция смесителя Бланко позволяет изменять напор и температуру воды с помощью одного рычага: двигайте его вправо-влево или вверх-вниз для достижения нужного результата. Такая модель подойдет современному интерьеру, будет незаменима, если в вашем распоряжении небольшое пространство для сантехники. Устанавливается обычным способом: на бортик мойки или ванной в предназначенные для этого отверстия.
Характеристики
  • Цвет: хром
  • Материал покрытия: хром
  • Выдвижной излив: Есть
Один рычаг управления
Один рычаг управления в смесителях Blanco поможет отрегулировать температуру и напор воды одной рукой, оставляя вторую свободной. Такая конструкция позволяет сэкономить время, сократить потребление воды и уменьшить опасность ожога кипятком.
Выдвижной гибкий шланг
Выдвижной гибкий шланг в смесителях Blanco очень удобен для использования в мойках с несколькими чашами. Он позволяет набирать воду в большие емкости и направлять струю в труднодоступные места, а также предотвращает появление брызг.
Покрытие хром

Покрытие из хрома считается одним из лучших по соотношению цена-качество. На поверхности не образуются разводы, желтые пятна или накипь. Смеситель будет долгие годы сохранять свой первоначальный внешний вид. Материал обладает гипоаллергенными свойствами.

Гибкая подводка

Гибкая подводка — это система шлангов, предназначенная для соединения смесителя с водопроводом. Различаются два типа гибкой подводки: сильфонная в виде гибкого шланга, помещенного в гофрированный рукав из нержавейки, и армированная — каучуковый или резиновый шланг с оплеткой из стали или алюминия.

Горизонтальный монтаж

Горизонтальный способ монтажа смесителей предполагает установку этого оборудования на горизонтальной поверхности — например, на бортике раковины или на столешнице. Это наиболее распространенный способ монтажа: подводка при этом оказывается скрытой под поверхностью столешницы или мойки.

Обратный клапан

Обратный клапан — устройство, которое не позволяет изменить направление потока воды и автоматически перекрывает ее, если вода начинает течь обратно. Он необходим для исключения случаев, когда из-за разницы давления из холодного крана идет горячая вода, а также для корректной работы водонагревателя.

Керамический картридж

Картридж расположен внутри смесителя и позволяет контролировать температуру и напор воды. Он состоит из двух керамических пластин, которые вращаются относительно друг друга и смешивают потоки горячей и холодной воды в зависимости от того, как повернут вентиль. Работает бесшумно и является достаточно долговечным.

Поворотный излив

Поворотный излив означает, что вы сможете направить поток воды не только по центру, но и в сторону — и даже с раковины в ванну, если излив достаточно длинный. Угол поворота может быть разным, в зависимости от того получится сдвинуть кран на 180 или 360 градусов. С таким изливом проще мыть посуду и продукты, крупные предметы.

Характеристики
  • Цвет: нержавеющая сталь
Один рычаг управления
Один рычаг управления в смесителях Blanco поможет отрегулировать температуру и напор воды одной рукой, оставляя вторую свободной. Такая конструкция позволяет сэкономить время, сократить потребление воды и уменьшить опасность ожога кипятком.
Гибкая подводка

Гибкая подводка — это система шлангов, предназначенная для соединения смесителя с водопроводом. Различаются два типа гибкой подводки: сильфонная в виде гибкого шланга, помещенного в гофрированный рукав из нержавейки, и армированная — каучуковый или резиновый шланг с оплеткой из стали или алюминия.

Горизонтальный монтаж

Горизонтальный способ монтажа смесителей предполагает установку этого оборудования на горизонтальной поверхности — например, на бортике раковины или на столешнице. Это наиболее распространенный способ монтажа: подводка при этом оказывается скрытой под поверхностью столешницы или мойки.

Аэратор

Аэратор — это специальная насадка, которая размещается на носике излива и предназначается для уменьшения потребления воды без снижения ее напора. Аэратор включает систему сетчатых фильтров, благодаря которой вода насыщается пузырьками воздуха, становится мягче и приобретает больший объем.

Поворотный излив

Поворотный излив означает, что вы сможете направить поток воды не только по центру, но и в сторону — и даже с раковины в ванну, если излив достаточно длинный. Угол поворота может быть разным, в зависимости от того получится сдвинуть кран на 180 или 360 градусов. С таким изливом проще мыть посуду и продукты, крупные предметы.

В наличии
Смеситель LINUS — это единство стиля и функциональности. Лаконичный дизайн дополнен элегантным рычагом управления.
Характеристики
  • Цвет: хром
Один рычаг управления
Один рычаг управления в смесителях Blanco поможет отрегулировать температуру и напор воды одной рукой, оставляя вторую свободной. Такая конструкция позволяет сэкономить время, сократить потребление воды и уменьшить опасность ожога кипятком.
Гибкая подводка

Гибкая подводка — это система шлангов, предназначенная для соединения смесителя с водопроводом. Различаются два типа гибкой подводки: сильфонная в виде гибкого шланга, помещенного в гофрированный рукав из нержавейки, и армированная — каучуковый или резиновый шланг с оплеткой из стали или алюминия.

Горизонтальный монтаж

Горизонтальный способ монтажа смесителей предполагает установку этого оборудования на горизонтальной поверхности — например, на бортике раковины или на столешнице. Это наиболее распространенный способ монтажа: подводка при этом оказывается скрытой под поверхностью столешницы или мойки.

Аэратор

Аэратор — это специальная насадка, которая размещается на носике излива и предназначается для уменьшения потребления воды без снижения ее напора. Аэратор включает систему сетчатых фильтров, благодаря которой вода насыщается пузырьками воздуха, становится мягче и приобретает больший объем.

Поворотный излив

Поворотный излив означает, что вы сможете направить поток воды не только по центру, но и в сторону — и даже с раковины в ванну, если излив достаточно длинный. Угол поворота может быть разным, в зависимости от того получится сдвинуть кран на 180 или 360 градусов. С таким изливом проще мыть посуду и продукты, крупные предметы.

5
В наличии
Смеситель LINUS — это единство стиля и функциональности. Лаконичный дизайн дополнен элегантным рычагом управления.
Характеристики
  • Цвет: хром
  • Материал покрытия: хром
  • Выдвижной излив: Есть
Один рычаг управления
Один рычаг управления в смесителях Blanco поможет отрегулировать температуру и напор воды одной рукой, оставляя вторую свободной. Такая конструкция позволяет сэкономить время, сократить потребление воды и уменьшить опасность ожога кипятком.
Выдвижной гибкий шланг
Выдвижной гибкий шланг в смесителях Blanco очень удобен для использования в мойках с несколькими чашами. Он позволяет набирать воду в большие емкости и направлять струю в труднодоступные места, а также предотвращает появление брызг.
Покрытие хром

Покрытие из хрома считается одним из лучших по соотношению цена-качество. На поверхности не образуются разводы, желтые пятна или накипь. Смеситель будет долгие годы сохранять свой первоначальный внешний вид. Материал обладает гипоаллергенными свойствами.

Гибкая подводка

Гибкая подводка — это система шлангов, предназначенная для соединения смесителя с водопроводом. Различаются два типа гибкой подводки: сильфонная в виде гибкого шланга, помещенного в гофрированный рукав из нержавейки, и армированная — каучуковый или резиновый шланг с оплеткой из стали или алюминия.

Горизонтальный монтаж

Горизонтальный способ монтажа смесителей предполагает установку этого оборудования на горизонтальной поверхности — например, на бортике раковины или на столешнице. Это наиболее распространенный способ монтажа: подводка при этом оказывается скрытой под поверхностью столешницы или мойки.

Керамический картридж

Картридж расположен внутри смесителя и позволяет контролировать температуру и напор воды. Он состоит из двух керамических пластин, которые вращаются относительно друг друга и смешивают потоки горячей и холодной воды в зависимости от того, как повернут вентиль. Работает бесшумно и является достаточно долговечным.

Поворотный излив

Поворотный излив означает, что вы сможете направить поток воды не только по центру, но и в сторону — и даже с раковины в ванну, если излив достаточно длинный. Угол поворота может быть разным, в зависимости от того получится сдвинуть кран на 180 или 360 градусов. С таким изливом проще мыть посуду и продукты, крупные предметы.

5
В наличии
Простая конструкция смесителя Бланко позволяет изменять напор и температуру воды с помощью одного рычага: двигайте его вправо-влево или вверх-вниз для достижения нужного результата. Такая модель подойдет современному интерьеру, будет незаменима, если в вашем распоряжении небольшое пространство для сантехники. Устанавливается обычным способом: на бортик мойки или ванной в предназначенные для этого отверстия.
Характеристики
  • Цвет: хром
Два рычага управления
Два рычага управления в смесителях Blanco могут предназначаться для различных целей. Вы можете выбрать двухрычажные смесители в стиле ретро с двумя вентилями для горячей и холодной воды или смесители со вторым рычагом для получения питьевой воды.
Фильтр для воды
Фильтр для воды в смесителях Blanco гарантирует получение питьевой воды без вредных примесей и экономию на покупке бутилированной воды. Фильтры с длительным сроком службы имеют сменные модули, которые подбираются для каждого случая отдельно.
Гибкая подводка

Гибкая подводка — это система шлангов, предназначенная для соединения смесителя с водопроводом. Различаются два типа гибкой подводки: сильфонная в виде гибкого шланга, помещенного в гофрированный рукав из нержавейки, и армированная — каучуковый или резиновый шланг с оплеткой из стали или алюминия.

Горизонтальный монтаж

Горизонтальный способ монтажа смесителей предполагает установку этого оборудования на горизонтальной поверхности — например, на бортике раковины или на столешнице. Это наиболее распространенный способ монтажа: подводка при этом оказывается скрытой под поверхностью столешницы или мойки.

Аэратор

Аэратор — это специальная насадка, которая размещается на носике излива и предназначается для уменьшения потребления воды без снижения ее напора. Аэратор включает систему сетчатых фильтров, благодаря которой вода насыщается пузырьками воздуха, становится мягче и приобретает больший объем.

Керамический картридж

Картридж расположен внутри смесителя и позволяет контролировать температуру и напор воды. Он состоит из двух керамических пластин, которые вращаются относительно друг друга и смешивают потоки горячей и холодной воды в зависимости от того, как повернут вентиль. Работает бесшумно и является достаточно долговечным.

Поворотный излив

Поворотный излив означает, что вы сможете направить поток воды не только по центру, но и в сторону — и даже с раковины в ванну, если излив достаточно длинный. Угол поворота может быть разным, в зависимости от того получится сдвинуть кран на 180 или 360 градусов. С таким изливом проще мыть посуду и продукты, крупные предметы.

5 лет гарантии!
В наличии
Смеситель SORA — изысканная модель от Blanco. Классический дизайн подходит для интерьеров в стиле ретро или кантри.
Характеристики
  • Цвет: хром
Характеристики
  • Цвет: нержавеющая сталь
  • Выдвижной излив: Есть
Один рычаг управления
Один рычаг управления в смесителях Blanco поможет отрегулировать температуру и напор воды одной рукой, оставляя вторую свободной. Такая конструкция позволяет сэкономить время, сократить потребление воды и уменьшить опасность ожога кипятком.
Выдвижной гибкий шланг
Выдвижной гибкий шланг в смесителях Blanco очень удобен для использования в мойках с несколькими чашами. Он позволяет набирать воду в большие емкости и направлять струю в труднодоступные места, а также предотвращает появление брызг.
Аэратор

Аэратор — это специальная насадка, которая размещается на носике излива и предназначается для уменьшения потребления воды без снижения ее напора. Аэратор включает систему сетчатых фильтров, благодаря которой вода насыщается пузырьками воздуха, становится мягче и приобретает больший объем.

Обратный клапан

Обратный клапан — устройство, которое не позволяет изменить направление потока воды и автоматически перекрывает ее, если вода начинает течь обратно. Он необходим для исключения случаев, когда из-за разницы давления из холодного крана идет горячая вода, а также для корректной работы водонагревателя.

Поворотный излив

Поворотный излив означает, что вы сможете направить поток воды не только по центру, но и в сторону — и даже с раковины в ванну, если излив достаточно длинный. Угол поворота может быть разным, в зависимости от того получится сдвинуть кран на 180 или 360 градусов. С таким изливом проще мыть посуду и продукты, крупные предметы.

В наличии
Стильный смеситель из нержавеющей стали с выдвижным изливом на гибком шланге.
Характеристики
  • Цвет: темная скала
  • Выдвижной излив: Есть
Один рычаг управления
Один рычаг управления в смесителях Blanco поможет отрегулировать температуру и напор воды одной рукой, оставляя вторую свободной. Такая конструкция позволяет сэкономить время, сократить потребление воды и уменьшить опасность ожога кипятком.
Выдвижной гибкий шланг
Выдвижной гибкий шланг в смесителях Blanco очень удобен для использования в мойках с несколькими чашами. Он позволяет набирать воду в большие емкости и направлять струю в труднодоступные места, а также предотвращает появление брызг.
Долговечный материал Silgranit
Надежный материал SILGRANIT™ PuraDur™, используемый в смесителях Blanco, состоит на 80% из натурального гранита, а на 20% из связующего материала на основе акриловой смолы, отличается устойчивостью к любым повреждениям и высоким температурам.
Гибкая подводка

Гибкая подводка — это система шлангов, предназначенная для соединения смесителя с водопроводом. Различаются два типа гибкой подводки: сильфонная в виде гибкого шланга, помещенного в гофрированный рукав из нержавейки, и армированная — каучуковый или резиновый шланг с оплеткой из стали или алюминия.

Горизонтальный монтаж

Горизонтальный способ монтажа смесителей предполагает установку этого оборудования на горизонтальной поверхности — например, на бортике раковины или на столешнице. Это наиболее распространенный способ монтажа: подводка при этом оказывается скрытой под поверхностью столешницы или мойки.

Обратный клапан

Обратный клапан — устройство, которое не позволяет изменить направление потока воды и автоматически перекрывает ее, если вода начинает течь обратно. Он необходим для исключения случаев, когда из-за разницы давления из холодного крана идет горячая вода, а также для корректной работы водонагревателя.

Керамический картридж

Картридж расположен внутри смесителя и позволяет контролировать температуру и напор воды. Он состоит из двух керамических пластин, которые вращаются относительно друг друга и смешивают потоки горячей и холодной воды в зависимости от того, как повернут вентиль. Работает бесшумно и является достаточно долговечным.

5
В наличии
Смеситель Blanco FONTAS-S II SILGRANIT обладает двумя шлангами, которые обеспечивают подачу проточной и питьевой воды через разные каналы. Выдвижной излив делает процесс мойки намного удобнее, вы сможете без особых усилий помыть посуду больших размеров, а также уборка раковины станет проще.
Характеристики
  • Цвет: белый
  • Выдвижной излив: Есть
Один рычаг управления
Один рычаг управления в смесителях Blanco поможет отрегулировать температуру и напор воды одной рукой, оставляя вторую свободной. Такая конструкция позволяет сэкономить время, сократить потребление воды и уменьшить опасность ожога кипятком.
Выдвижной гибкий шланг
Выдвижной гибкий шланг в смесителях Blanco очень удобен для использования в мойках с несколькими чашами. Он позволяет набирать воду в большие емкости и направлять струю в труднодоступные места, а также предотвращает появление брызг.
Долговечный материал Silgranit
Надежный материал SILGRANIT™ PuraDur™, используемый в смесителях Blanco, состоит на 80% из натурального гранита, а на 20% из связующего материала на основе акриловой смолы, отличается устойчивостью к любым повреждениям и высоким температурам.
Гибкая подводка

Гибкая подводка — это система шлангов, предназначенная для соединения смесителя с водопроводом. Различаются два типа гибкой подводки: сильфонная в виде гибкого шланга, помещенного в гофрированный рукав из нержавейки, и армированная — каучуковый или резиновый шланг с оплеткой из стали или алюминия.

Горизонтальный монтаж

Горизонтальный способ монтажа смесителей предполагает установку этого оборудования на горизонтальной поверхности — например, на бортике раковины или на столешнице. Это наиболее распространенный способ монтажа: подводка при этом оказывается скрытой под поверхностью столешницы или мойки.

Обратный клапан

Обратный клапан — устройство, которое не позволяет изменить направление потока воды и автоматически перекрывает ее, если вода начинает течь обратно. Он необходим для исключения случаев, когда из-за разницы давления из холодного крана идет горячая вода, а также для корректной работы водонагревателя.

Керамический картридж

Картридж расположен внутри смесителя и позволяет контролировать температуру и напор воды. Он состоит из двух керамических пластин, которые вращаются относительно друг друга и смешивают потоки горячей и холодной воды в зависимости от того, как повернут вентиль. Работает бесшумно и является достаточно долговечным.

5
В наличии
Смеситель Blanco FONTAS-S II SILGRANIT обладает двумя шлангами, которые обеспечивают подачу проточной и питьевой воды через разные каналы. Выдвижной излив делает процесс мойки намного удобнее, вы сможете без особых усилий помыть посуду больших размеров, а также уборка раковины станет проще.
Характеристики
  • Цвет: серый беж
  • Выдвижной излив: Есть
Один рычаг управления
Один рычаг управления в смесителях Blanco поможет отрегулировать температуру и напор воды одной рукой, оставляя вторую свободной. Такая конструкция позволяет сэкономить время, сократить потребление воды и уменьшить опасность ожога кипятком.
Выдвижной гибкий шланг
Выдвижной гибкий шланг в смесителях Blanco очень удобен для использования в мойках с несколькими чашами. Он позволяет набирать воду в большие емкости и направлять струю в труднодоступные места, а также предотвращает появление брызг.
Долговечный материал Silgranit
Надежный материал SILGRANIT™ PuraDur™, используемый в смесителях Blanco, состоит на 80% из натурального гранита, а на 20% из связующего материала на основе акриловой смолы, отличается устойчивостью к любым повреждениям и высоким температурам.
Гибкая подводка

Гибкая подводка — это система шлангов, предназначенная для соединения смесителя с водопроводом. Различаются два типа гибкой подводки: сильфонная в виде гибкого шланга, помещенного в гофрированный рукав из нержавейки, и армированная — каучуковый или резиновый шланг с оплеткой из стали или алюминия.

Горизонтальный монтаж

Горизонтальный способ монтажа смесителей предполагает установку этого оборудования на горизонтальной поверхности — например, на бортике раковины или на столешнице. Это наиболее распространенный способ монтажа: подводка при этом оказывается скрытой под поверхностью столешницы или мойки.

Обратный клапан

Обратный клапан — устройство, которое не позволяет изменить направление потока воды и автоматически перекрывает ее, если вода начинает течь обратно. Он необходим для исключения случаев, когда из-за разницы давления из холодного крана идет горячая вода, а также для корректной работы водонагревателя.

Керамический картридж

Картридж расположен внутри смесителя и позволяет контролировать температуру и напор воды. Он состоит из двух керамических пластин, которые вращаются относительно друг друга и смешивают потоки горячей и холодной воды в зависимости от того, как повернут вентиль. Работает бесшумно и является достаточно долговечным.

В наличии
Смеситель Blanco FONTAS-S II SILGRANIT обладает двумя шлангами, которые обеспечивают подачу проточной и питьевой воды через разные каналы. Выдвижной излив делает процесс мойки намного удобнее, вы сможете без особых усилий помыть посуду больших размеров, а также уборка раковины станет проще.
Характеристики
  • Цвет: антрацит
  • Выдвижной излив: Есть
Один рычаг управления
Один рычаг управления в смесителях Blanco поможет отрегулировать температуру и напор воды одной рукой, оставляя вторую свободной. Такая конструкция позволяет сэкономить время, сократить потребление воды и уменьшить опасность ожога кипятком.
Выдвижной гибкий шланг
Выдвижной гибкий шланг в смесителях Blanco очень удобен для использования в мойках с несколькими чашами. Он позволяет набирать воду в большие емкости и направлять струю в труднодоступные места, а также предотвращает появление брызг.
Долговечный материал Silgranit
Надежный материал SILGRANIT™ PuraDur™, используемый в смесителях Blanco, состоит на 80% из натурального гранита, а на 20% из связующего материала на основе акриловой смолы, отличается устойчивостью к любым повреждениям и высоким температурам.
Гибкая подводка

Гибкая подводка — это система шлангов, предназначенная для соединения смесителя с водопроводом. Различаются два типа гибкой подводки: сильфонная в виде гибкого шланга, помещенного в гофрированный рукав из нержавейки, и армированная — каучуковый или резиновый шланг с оплеткой из стали или алюминия.

Горизонтальный монтаж

Горизонтальный способ монтажа смесителей предполагает установку этого оборудования на горизонтальной поверхности — например, на бортике раковины или на столешнице. Это наиболее распространенный способ монтажа: подводка при этом оказывается скрытой под поверхностью столешницы или мойки.

Обратный клапан

Обратный клапан — устройство, которое не позволяет изменить направление потока воды и автоматически перекрывает ее, если вода начинает течь обратно. Он необходим для исключения случаев, когда из-за разницы давления из холодного крана идет горячая вода, а также для корректной работы водонагревателя.

Керамический картридж

Картридж расположен внутри смесителя и позволяет контролировать температуру и напор воды. Он состоит из двух керамических пластин, которые вращаются относительно друг друга и смешивают потоки горячей и холодной воды в зависимости от того, как повернут вентиль. Работает бесшумно и является достаточно долговечным.

В наличии
Смеситель Blanco FONTAS-S II SILGRANIT обладает двумя шлангами, которые обеспечивают подачу проточной и питьевой воды через разные каналы. Выдвижной излив делает процесс мойки намного удобнее, вы сможете без особых усилий помыть посуду больших размеров, а также уборка раковины станет проще.
Характеристики
  • Цвет: нержавеющая сталь
  • Материал покрытия: хром
  • Выдвижной излив: Есть
Один рычаг управления
Один рычаг управления в смесителях Blanco поможет отрегулировать температуру и напор воды одной рукой, оставляя вторую свободной. Такая конструкция позволяет сэкономить время, сократить потребление воды и уменьшить опасность ожога кипятком.
Выдвижной гибкий шланг
Выдвижной гибкий шланг в смесителях Blanco очень удобен для использования в мойках с несколькими чашами. Он позволяет набирать воду в большие емкости и направлять струю в труднодоступные места, а также предотвращает появление брызг.
Покрытие хром

Покрытие из хрома считается одним из лучших по соотношению цена-качество. На поверхности не образуются разводы, желтые пятна или накипь. Смеситель будет долгие годы сохранять свой первоначальный внешний вид. Материал обладает гипоаллергенными свойствами.

Гибкая подводка

Гибкая подводка — это система шлангов, предназначенная для соединения смесителя с водопроводом. Различаются два типа гибкой подводки: сильфонная в виде гибкого шланга, помещенного в гофрированный рукав из нержавейки, и армированная — каучуковый или резиновый шланг с оплеткой из стали или алюминия.

Горизонтальный монтаж

Горизонтальный способ монтажа смесителей предполагает установку этого оборудования на горизонтальной поверхности — например, на бортике раковины или на столешнице. Это наиболее распространенный способ монтажа: подводка при этом оказывается скрытой под поверхностью столешницы или мойки.

Аэратор

Аэратор — это специальная насадка, которая размещается на носике излива и предназначается для уменьшения потребления воды без снижения ее напора. Аэратор включает систему сетчатых фильтров, благодаря которой вода насыщается пузырьками воздуха, становится мягче и приобретает больший объем.

Обратный клапан

Обратный клапан — устройство, которое не позволяет изменить направление потока воды и автоматически перекрывает ее, если вода начинает течь обратно. Он необходим для исключения случаев, когда из-за разницы давления из холодного крана идет горячая вода, а также для корректной работы водонагревателя.

Керамический картридж

Картридж расположен внутри смесителя и позволяет контролировать температуру и напор воды. Он состоит из двух керамических пластин, которые вращаются относительно друг друга и смешивают потоки горячей и холодной воды в зависимости от того, как повернут вентиль. Работает бесшумно и является достаточно долговечным.

Поворотный излив

Поворотный излив означает, что вы сможете направить поток воды не только по центру, но и в сторону — и даже с раковины в ванну, если излив достаточно длинный. Угол поворота может быть разным, в зависимости от того получится сдвинуть кран на 180 или 360 градусов. С таким изливом проще мыть посуду и продукты, крупные предметы.

В наличии
Простая конструкция смесителя Бланко позволяет изменять напор и температуру воды с помощью одного рычага: двигайте его вправо-влево или вверх-вниз для достижения нужного результата. Такая модель подойдет современному интерьеру, будет незаменима, если в вашем распоряжении небольшое пространство для сантехники. Устанавливается обычным способом: на бортик мойки или ванной в предназначенные для этого отверстия.
Характеристики
  • Цвет: антрацит
Один рычаг управления
Один рычаг управления в смесителях Blanco поможет отрегулировать температуру и напор воды одной рукой, оставляя вторую свободной. Такая конструкция позволяет сэкономить время, сократить потребление воды и уменьшить опасность ожога кипятком.
Долговечный материал Silgranit
Надежный материал SILGRANIT™ PuraDur™, используемый в смесителях Blanco, состоит на 80% из натурального гранита, а на 20% из связующего материала на основе акриловой смолы, отличается устойчивостью к любым повреждениям и высоким температурам.
Гибкая подводка

Гибкая подводка — это система шлангов, предназначенная для соединения смесителя с водопроводом. Различаются два типа гибкой подводки: сильфонная в виде гибкого шланга, помещенного в гофрированный рукав из нержавейки, и армированная — каучуковый или резиновый шланг с оплеткой из стали или алюминия.

Поворотный излив

Поворотный излив означает, что вы сможете направить поток воды не только по центру, но и в сторону — и даже с раковины в ванну, если излив достаточно длинный. Угол поворота может быть разным, в зависимости от того получится сдвинуть кран на 180 или 360 градусов. С таким изливом проще мыть посуду и продукты, крупные предметы.

В наличии
Высокая конструкция позволяет легко наполнять большие кастрюли или вазы. Увеличенный радиус действия, благодаря вращающемуся на 360° изливу, повышает эргономику устройства.
Купить в кредит или рассрочку Смеситель Blanco
Подать заявку
Рассрочка за 2 минуты, не выходя из дома
0+, АО «Тинькофф Банк», лицензия №2673
Последние отзывы о смесителях Blanco
Перейти к отзывам
Смеситель Blanco MIDA Silgranit антрацит
5
Оценка пользователя
В наличии
17 590 руб.
17 590 руб.
Купить
Читать подробнее
5
Достоинства:
Плавный однорычажный ход, тихий керамический картридж, поворот 360°, матовый антрацитовый гранит.
Недостатки:
Недостатков не нашёл.
Комментарий:
Брал под тёмную мойку, нужен был цвет антрацит. Установил сам: монтаж горизонтальный, в стандартное отверстие встал ровно, без перекосов. Подключение заняло минут двадцать — гибкая подводка выручила, не пришлось использовать переходники. В работе порадовал сразу. Однорычажный формат удобен: когда одной рукой держу чайник, другой легко задаю напор и температуру. Керамический картридж идёт мягко, без рывков, нужную температуру ловлю быстро. Поворот на 360° выручает постоянно: часто разворачиваю излив к краю, чтобы наполнить кувшин на столешнице; пару раз набирал воду в ведро, стоящее на полу, не таскал его в мойку — экономит силы. Покрытие под гранит с матовой текстурой практичное: отпечатки и капли не бросаются в глаза, блики не раздражают, после готовки провёл губкой — чисто. У нас вода жёсткая, известковый след снимается обычным средством, поверхность не тускнеет. Цвет попал в тон к рабочей зоне, смотрится едино. Корпус из латуни даёт ощущение надежности: при сильном напоре ничего не дрожит, стоит монолитно. За месяц ежедневной эксплуатации подтёков нет, рычаг не разбалтывается, ход остался ровным. Излив не мешает манёврам с посудой, струя собранная, вокруг раковины сухо. Был случай: во время большой готовки развернул носик в сторону и освободил всю чашу, быстро управился с посудой! Возвращаясь после тренировки с запылёнными руками, включал воду тыльной стороной ладони — рукоять реагирует чётко. Покупкой доволен: работает тихо, удобно, выглядит достойно и не требует лишнего ухода.
Смеситель Blanco Daras Silgranit черный 526233
5
Оценка пользователя
В наличии
19 090 руб.
19 090 руб.
Купить
Читать подробнее
5
Достоинства:
Стильный и надёжный смеситель: чёрный цвет, плавный однорычажный ход, 360° поворот, керамический картридж и гибкие шланги для быстрой установки.
Недостатки:
Минусов не нашёл.
Комментарий:
В целом доволен этой моделью и часто хвалю выбор друзьям. Однорычажный механизм управляется легко — хватает одного движения, чтобы выставить нужную температуру и напор. Картридж керамический, диаметром 35 мм, даёт ощущение добротности: рычаг не люфтит и ход ровный, что приятно при ежедневном пользовании. Высота излива 15,2 см и длина 22,7 см обеспечивают удобный доступ к раковине — мою и овощи, и средние кастрюли без лишних танцев. Общая высота 176 мм не загромождает пространство, что важно на небольшой кухне.

Поворот на 360° оказался полезнее, чем думал: часто разворачиваю излив, когда полощу большую сковороду или прополаскиваю миску, и никто ничего не мешает рядом стоящим предметам. Аэратор даёт ровную струю без брызг, экономит воду и делает полоскание трав и ягод аккуратным. Корпус из латуни внушает доверие, а чёрное покрытие выглядит современно и легко вписалось в дизайн. Горизонтальный монтаж прошёл без проблем — гибкие присоединительные шланги и гибкая подводка серьёзно упростили процесс установки, не пришлось вызывать мастера на долгое подсоединение. Артикул 526233 пригодился при поиске инструкций и рекомендаций по уходу. В быту смеситель радует каждый день: быстро наполняю кастрюли, аккуратно промываю продукты и не переживаю за износ благодаря качественным материалам!
Смеситель Blanco DARAS-S 526234 Silgranit черный
5
Оценка пользователя
Доставка от 3 дней
26 910 руб.
26 910 руб.
Купить
Читать подробнее
5
Достоинства:
Стильный черный смеситель из Silgranit с хромированной вставкой выглядит благородно, удобен в управлении — однорычажный, выдвижной излив и 90° поворот дают отличную эргономику.
Недостатки:
Минусов не заметила.
Комментарий:
Мне понравилось, как в повседневной рутине смеситель упрощает жизнь. Низкий излив 11,5 см и длина 21,4 см дают хороший доступ к раковине, руки и посуда остаются сухими при наборе воды. Выдвижной излив выручает, когда мою крупную кастрюлю или ополаскиваю овощи: шланг выдвигается плавно и возвращается без усилий. Керамический картридж делает ход рычага мягким и точным, регулирую температуру плавно — это радует утром, когда спешу. Угол поворота 90° — как раз то, что нужно в небольшой кухне: не мешает шкафам соседним. Обратный клапан и гибкие подводки 3/8 успокаивают насчет надежности, после установки текучести не появлялось. Монтаж в одно отверстие диаметром 35 мм прошёл быстро, стабилизирующая пластина держит конструкцию ровно, без люфта. Черный цвет с хромовой вставкой смотрится современно и не пачкается визуально от воды. В хозяйственных мелочах тоже радует: налить воду в высокий чайник удобно, протереть смеситель легко. В общем, функциональная и красивая техника, которая действительно пригодилась в ежедневной готовке и уборке. Очень довольна данной моделью. Мытье посуды стало намного легче
Вопросы специалистам Hausdorf о смесителях Blanco
Еще никто не задал вопрос. Будьте первыми!
Задать вопрос
Технологии смесителей Blanco
Один рычаг управления
Один рычаг управления

Один рычаг управления в смесителях Blanco обеспечивает регулировку температуры и напора воды одним движением, оставляя вторую руку свободной. Регулировка температуры при этом становится более точной, а опасность ожога кипятком уменьшается. Более того, для управления однорычажным смесителем можно использовать локоть или тыльную сторону кисти руки. Простое управление и быстрая настройка температуры позволяют сэкономить время, а также значительно сократить потребление воды по сравнению с двухрычажными смесителями, где имеется один вентиль для холодной воды и другой для горячей.

Два рычага управления
Два рычага управления

Два рычага управления в смесителях Blanco могут предназначаться для различных целей. В смесителях с краном для питьевой воды первый рычаг предназначен для регулировки температуры и напора воды, а второй — для получения фильтрованной воды, которую можно пить без кипячения. Фильтры при этом размещаются под мойкой. Такие смесители очень удобны и экономичны.

Второй вариант — смесители в стиле ретро с двумя вентилями для регулировки напора горячей и холодной воды отдельно. С ними намного проще получить только горячую или холодную воду. Это стильные устройства, которые украсят любую кухню.

Выдвижной гибкий шланг
Выдвижной гибкий шланг

Выдвижной гибкий шланг в смесителях Blanco значительно увеличивает удобство и создает дополнительные возможности применения. Выдвижной шланг, проходящий через корпус смесителя и заканчивающийся изливом, отлично подходит для использования в мойках с двумя чашами, а также позволяет набирать воду в большие емкости, которые не помещаются в чашу. Гибкий шланг помогает направлять струю в труднодоступные места, облегчая мытье посуды или самой чаши, и предотвращает появление брызг. Носик с аэратором позволяет обогатить воду кислородом и уменьшить ее расход при сохранении интенсивности напора.

Фильтр для воды
Фильтр для воды

Фильтр для воды в смесителях Blanco позволяет получить очищенную питьевую воду в любой момент и в любом количестве и тем самым сэкономить на покупке бутилированной воды. Фильтры от Blanco гарантируют полную очистку воды от вредных примесей и накипи. С ними вам не нужно будет проделывать дополнительное отверстие в мойке, поскольку подача чистой воды осуществляется через обычный смеситель с разделением потоков. Фильтры отличаются длительным сроком службы, их сменные модули могут подбираться для каждого конкретного случая отдельно. Заменить такой фильтр сможет даже неопытный пользователь.

Долговечный материал Silgranit
Долговечный материал Silgranit

Надежный материал SILGRANIT™ PuraDur™, используемый в смесителях Blanco, состоит на 80% из натурального гранита, а на 20% из связующего материала на основе акриловой смолы. Необыкновенно приятный на ощупь, этот материал не меняет цвет со временем благодаря отсутствию пор, в которые могла бы впитываться грязь, отличается устойчивостью к любым повреждениям и высоким температурам. SILGRANIT™ PuraDur отличается удобством в очистке, долговечностью и стильным внешним видом. Производитель предлагает десять различных оттенков, от белого до цвета графит, которые подойдут для любой кухни.

Схема с размерами JPG, 94.55 Кб
Схема с размерами (1) JPG, 89.95 Кб
Схема с размерами (2) JPG, 59.06 Кб
Схема с размерами (1) JPG, 23.86 Кб
Схема с размерами (2) JPG, 27.65 Кб

Рейтинг лучших смесителей 2026 года по цене, качеству и надежности
Рейтинг лучших смесителей 2026 года по цене, качеству и надежности
Рейтинг лучших смесителей 2026 года по цене, качеству и надежности
Как выбрать смеситель на кухню
Как выбрать смеситель на кухню
Как выбрать смеситель на кухню
Какой излив предпочесть для смесителя на кухне
Какой излив предпочесть для смесителя на кухне
Какой излив предпочесть для смесителя на кухне
Дополнительные функции смесителей
Дополнительные функции смесителей
Дополнительные функции смесителей
Все видео о смесителях Blanco
Blanco: идеальное сочетание
Blanco: идеальное сочетание
Смеситель Blanco с фильтром
Смеситель Blanco с фильтром
Коллекция сенсорных смесителей Blanco
Коллекция сенсорных смесителей Blanco
+7 (812) 426-15-21
+7 (800) 333-10-52
shop@hausdorf.ru
Mo-Su 10:00-22:00
Санкт-Петербург